Air Conditioner Diagram Wiring

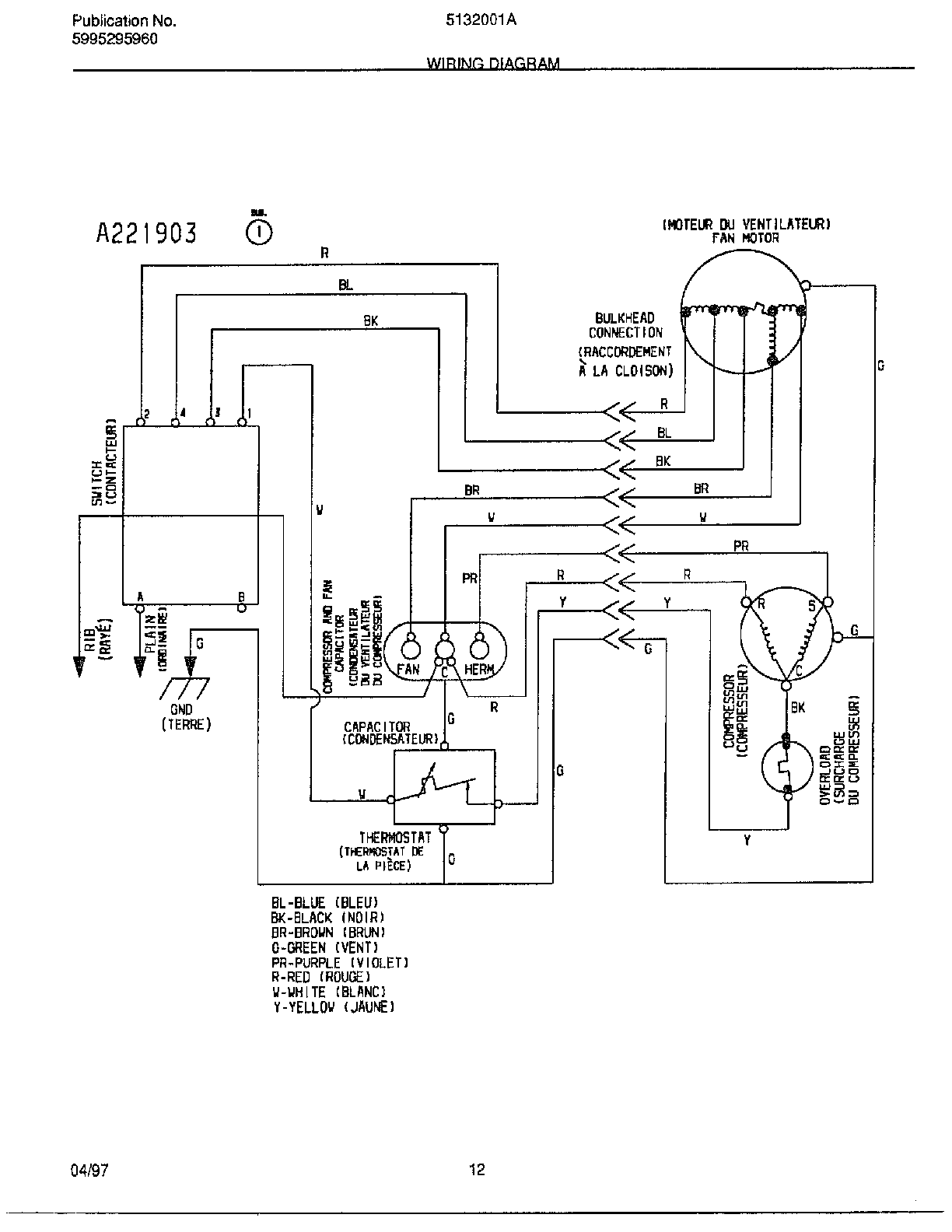
When it comes to understanding how an air conditioner works, it is essential to delve into the wiring diagram of the system. The wiring diagram provides a visual representation of the electrical components and how they are interconnected to ensure the proper functioning of the air conditioner.

By examining the wiring diagram, technicians and DIY enthusiasts can troubleshoot any issues that may arise with the air conditioner’s electrical system. Understanding the wiring diagram is crucial for maintaining and repairing the air conditioner effectively.

Ge Air Conditioner Model Aez05lvq2 Wiring DiagramGe Air Conditioner Model Aez05lvq2 Wiring Diagram (wiringall.com)

Air Conditioner Diagram Wiring

The wiring diagram of an air conditioner typically consists of various components such as the compressor, condenser, evaporator, fan motor, thermostat, and capacitors. Each component has its specific wiring connections that must be correctly configured for the air conditioner to operate efficiently.

One of the essential aspects of the wiring diagram is to identify the power supply connections, ground connections, and control connections. The power supply connections ensure that the air conditioner receives the necessary electrical power to operate, while the ground connections provide a path for electrical currents to return to the source.

In addition to the power and ground connections, the wiring diagram also illustrates the control connections that facilitate communication between the various components of the air conditioner. These control connections enable the system to regulate temperature, airflow, and other essential functions to maintain a comfortable indoor environment.

Furthermore, the wiring diagram helps in identifying any faulty components or wiring issues that may cause the air conditioner to malfunction. By following the wiring diagram and conducting proper testing, technicians can pinpoint the root cause of the problem and implement the necessary repairs to restore the air conditioner’s functionality.

In conclusion, the wiring diagram of an air conditioner plays a vital role in understanding the electrical system of the unit. By familiarizing yourself with the diagram and learning how to interpret it, you can effectively troubleshoot and maintain your air conditioner to ensure optimal performance and longevity.


Download and Print Air Conditioner Diagram Wiring Listed below

Ge Air Conditioner Wiring Diagram Micro WiringGe Air Conditioner Wiring Diagram Micro Wiring (micro-wiring.blogspot.com)

Central Air Conditioner Wiring DiagramCentral Air Conditioner Wiring Diagram (resolutionsforyou.com)

Air Conditioner Wiring Diagram Guide For Easy InstallationAir Conditioner Wiring Diagram Guide For Easy Installation (schempro.com)

Air Conditioner Wiring Diagram Air Conditioner Wiring Diagram Wiring Air Conditioner Wiring Diagram Air Conditioner Wiring Diagram Wiring (www.wiringname.com)

Ac Hvac Wiring Wiring Diagram Central Air Conditioner Wiring Ac Hvac Wiring Wiring Diagram Central Air Conditioner Wiring (2020cadillac.com)

Air Conditioner Diagram Wiring

To wrap things up, comprehending and working with Air Conditioner Diagram Wiring is an vital skill for anyone working with electrical systems, from newcomers to seasoned professionals. These diagrams function as blueprints that show the layouts and roles of electrical circuits, making diagnosing problems, installation, and servicing far more straightforward.

Whether you’re working on a small home lighting system or a complicated industrial setup, a well-drawn Air Conditioner Diagram Wiring can help avoid delays, prevent errors, and ensure safety.

If you’re new to Air Conditioner Diagram Wiring, start small, study real-life examples, and don’t hesitate to seek guidance. For pros, staying updated with the newest regulations helps you stay ahead.

Ultimately, Air Conditioner Diagram Wiring are more than just schematic drawings; they are the language of electricity. By mastering and draft them, you gain the ability to work smarter, more safely, and more accurately in any electrical project.

Thank you for reading, and we hope this article Air Conditioner Diagram Wiring has helped illuminate the power of wiring diagrams.