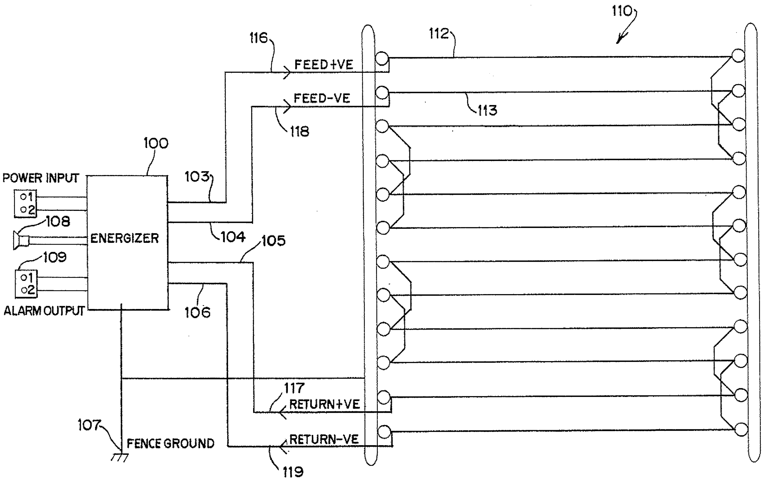
Electric Fence Wiring Diagram

Electric fences are commonly used to keep livestock contained within a certain area, as well as to protect crops from wildlife. Proper wiring is essential for the electric fence to work effectively and safely. Understanding the wiring diagram is crucial for installation and maintenance of an electric fence.

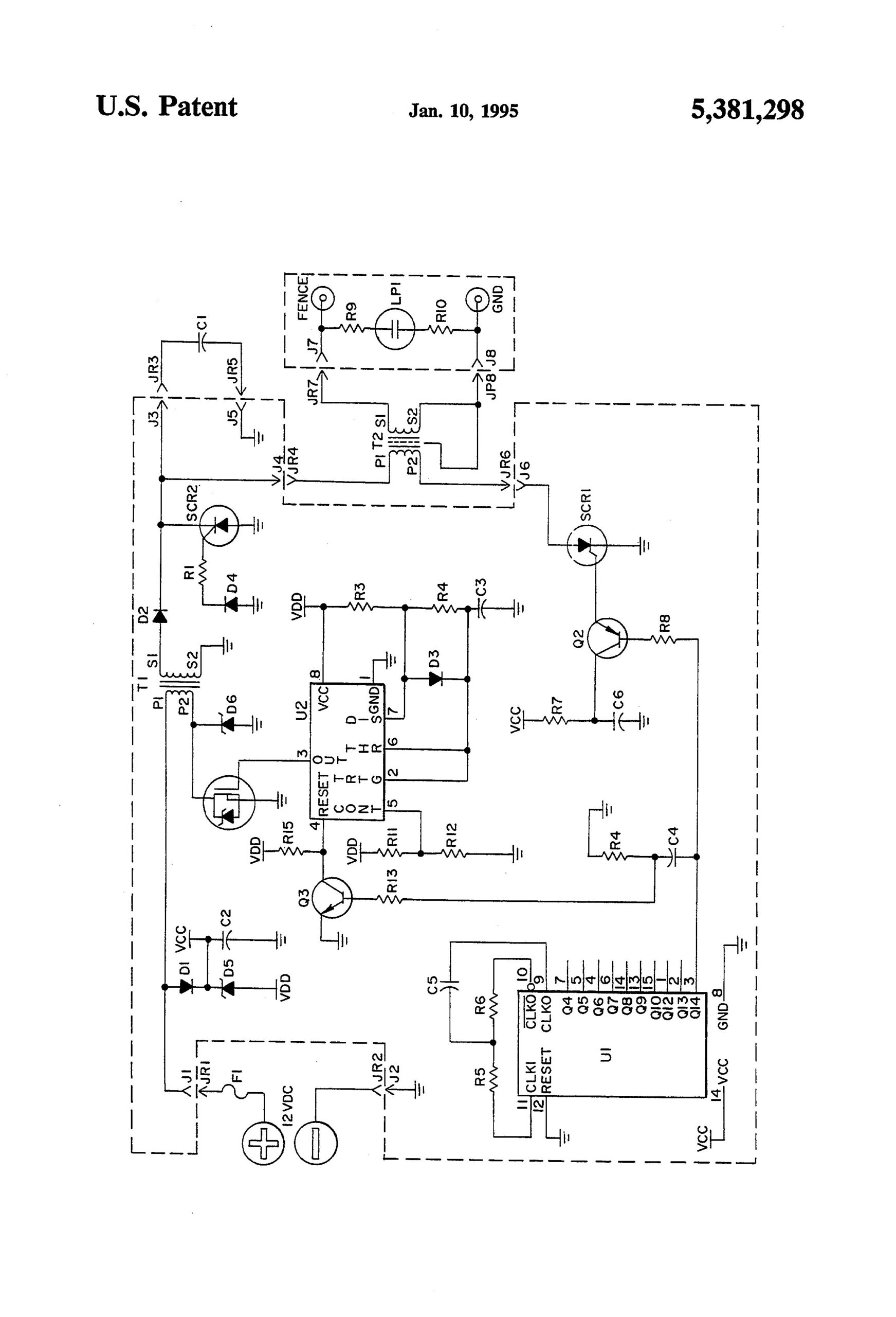
Before starting the installation process, it is important to have a clear understanding of the wiring diagram. The diagram typically includes the power source, energizer, ground system, fence wire, and any additional components such as switches or lightning protection devices. Each component plays a crucial role in the functionality of the electric fence.

1938 Chevy Truck Wiring Diagram Also How To Electric Fence Diagram 1938 Chevy Truck Wiring Diagram Also How To Electric Fence Diagram (2020cadillac.com)

When wiring an electric fence, the power source is connected to the energizer, which produces pulses of electricity to the fence wire. The ground system is essential for completing the electrical circuit and ensuring the fence is properly grounded. The fence wire is then connected to the energizer and runs along the perimeter that needs to be protected.

It is important to follow the wiring diagram carefully to ensure the electric fence is installed correctly and safely. Incorrect wiring can result in the fence not functioning properly or even posing a safety hazard. Regular maintenance and inspections are also necessary to ensure the fence is in good working condition.

In addition to the basic components, some electric fences may include additional features such as switches for turning the fence on and off, or lightning protection devices to prevent damage during storms. These components should also be included in the wiring diagram and installed according to the manufacturer’s instructions.

Overall, understanding the electric fence wiring diagram is crucial for proper installation and maintenance of an electric fence. By following the diagram carefully and ensuring all components are connected correctly, you can create a safe and effective barrier for your livestock or crops.

In conclusion, proper wiring is essential for the functionality and safety of an electric fence. By following the wiring diagram and installing all components correctly, you can ensure that your electric fence works effectively to protect your property. Regular maintenance and inspections will help to keep the fence in good working condition for years to come.


Download and Print Electric Fence Wiring Diagram Listed below

Electric Fence Wiring Diagram Easy WiringElectric Fence Wiring Diagram Easy Wiring (easywiring.info)

Electric Fence Wiring Diagram Easy WiringElectric Fence Wiring Diagram Easy Wiring (easywiring.info)

Electric Fence Wiring DiagramElectric Fence Wiring Diagram (stewart-switch.com)

In Ground Fence Wiring Basics Youtube Electric Fence Wiring Diagram In Ground Fence Wiring Basics Youtube Electric Fence Wiring Diagram (annawiringdiagram.com)

Solar Wire Fence Diagram Wiring Diagram Electric Fence Wiring Solar Wire Fence Diagram Wiring Diagram Electric Fence Wiring (annawiringdiagram.com)

Electric Fence Wiring Diagram

To wrap things up, grasping and working with Electric Fence Wiring Diagram is an important skill for those dealing with electrical setups, from novices to experienced electricians. These diagrams serve as blueprints that show the layouts and roles of electrical circuits, making troubleshooting, installation, and maintenance far more straightforward.

Whether you’re working on a basic home lighting system or a complex industrial setup, a well-drawn Electric Fence Wiring Diagram can help avoid delays, prevent errors, and keep things safe.

For beginners Electric Fence Wiring Diagram, begin with simple projects, explore real-life examples, and don’t hesitate to ask for advice. For experienced technicians, staying updated with the newest regulations helps you stay relevant.

All in all, Electric Fence Wiring Diagram are more than just schematic drawings; they are the blueprint of electricity. By being able to interpret and create them, you equip yourself to work smarter, safer, and more accurately in any electrical project.

We appreciate your time, and we hope this article Electric Fence Wiring Diagram has shed light on the power of wiring diagrams.