Lennox Hp26-030-12p Wiring Diagram

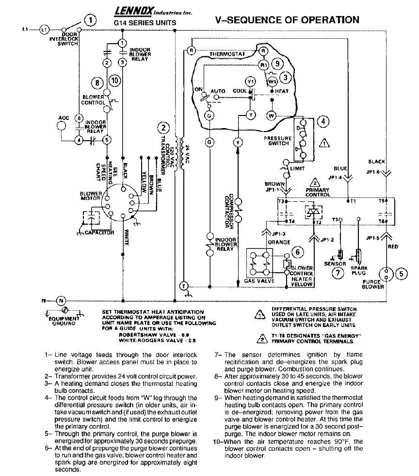
When it comes to installing or repairing a Lennox Hp26-030-12p air conditioning unit, having a wiring diagram is essential. This diagram provides a visual representation of the electrical connections within the unit, making it easier for technicians to troubleshoot and ensure proper installation.

Without a wiring diagram, it can be challenging to identify which wires go where and how they should be connected. This can lead to mistakes that could potentially damage the unit or cause it to malfunction. Having a clear and accurate wiring diagram is crucial for a successful installation or repair job.

The Ultimate Guide To Understanding Lennox Heat Pump Wiring DiagramThe Ultimate Guide To Understanding Lennox Heat Pump Wiring Diagram (techschematic.com)

One key component of the Lennox Hp26-030-12p wiring diagram is the color coding of the wires. Each wire is marked with a specific color to indicate its function, making it easier to match them up correctly during installation. This helps to prevent errors and ensure that the unit operates efficiently.

In addition to the color coding, the wiring diagram also includes a detailed layout of the electrical components and their connections. This helps technicians to understand the overall system and troubleshoot any issues that may arise. Having a clear roadmap of the wiring configuration can save time and prevent costly mistakes.

Overall, having a Lennox Hp26-030-12p wiring diagram is essential for anyone working with this type of air conditioning unit. It provides a visual guide to the electrical connections, helping to ensure a successful installation or repair job. By following the diagram carefully, technicians can avoid errors and ensure that the unit operates efficiently and safely.

Whether you are a professional HVAC technician or a DIY enthusiast, having access to a Lennox Hp26-030-12p wiring diagram is crucial for working with this type of air conditioning unit. With its detailed layout and color coding, the diagram provides a clear roadmap for connecting the electrical components correctly and ensuring the unit operates smoothly.


Download and Print Lennox Hp26-030-12p Wiring Diagram Listed below

The Ultimate Guide To Understanding Lennox Heat Pump Wiring DiagramThe Ultimate Guide To Understanding Lennox Heat Pump Wiring Diagram (elecdiags.com)

Lennox Air Handler Wiring Diagram Wiring Diagram PicturesLennox Air Handler Wiring Diagram Wiring Diagram Pictures (schematron.org)

Unraveling The Lennox Wiring Diagram A Comprehensive Guide For HVAC Unraveling The Lennox Wiring Diagram A Comprehensive Guide For HVAC (techdiagrammer.com)

Lennox Gcs16 Wiring Diagram Wiring DiagramLennox Gcs16 Wiring Diagram Wiring Diagram (wiringdiagram.2bitboer.com)

Lennox Thermostat Wiring DiagramLennox Thermostat Wiring Diagram (www.chanish.org)

Lennox Hp26-030-12p Wiring Diagram

In conclusion, comprehending and using Lennox Hp26-030-12p Wiring Diagram is an vital skill for anyone working with electrical systems, from beginners to veteran technicians. These diagrams act as blueprints that map out the paths and operations of electrical circuits, making troubleshooting, setup, and maintenance far more efficient.

Whether you’re working on a basic home lighting system or a large-scale industrial setup, a well-drawn Lennox Hp26-030-12p Wiring Diagram can help avoid delays, prevent errors, and improve security.

For beginners Lennox Hp26-030-12p Wiring Diagram, begin with simple projects, explore real-life examples, and don’t hesitate to ask for advice. For pros, staying updated with the latest standards helps you stay ahead.

All in all, Lennox Hp26-030-12p Wiring Diagram are more than just technical illustrations; they are the foundation of electricity. By learning to read and draft them, you equip yourself to work smarter, more safely, and more accurately in any electrical project.

We appreciate your time, and we hope this article Lennox Hp26-030-12p Wiring Diagram has shed light on the power of wiring diagrams.