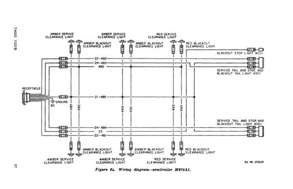
Semi Truck Trailer Wiring Diagram

When it comes to towing a trailer with a semi-truck, having a proper wiring diagram is essential for ensuring the safety of both the driver and other motorists on the road. The wiring diagram serves as a guide for connecting the electrical components of the truck and trailer, allowing for proper communication between the two vehicles.

Without a correct wiring diagram, there is a risk of malfunctioning lights, brakes, and turn signals, which can lead to accidents and costly repairs. It is important for truck drivers to familiarize themselves with the wiring diagram to ensure that all connections are secure and functioning properly before hitting the road.

Semi Trailer Wiring Diagram Wiring DiagramSemi Trailer Wiring Diagram Wiring Diagram (www.autowiringdiagram.net)

One of the most common wiring diagrams for semi-truck trailers includes a 7-way plug, which allows for connections to the truck’s electrical system for power, ground, electric brakes, and auxiliary power. The diagram typically includes color-coded wires for easy identification and proper connection, helping drivers avoid confusion and potential electrical issues.

It is crucial for truck drivers to regularly inspect and maintain the wiring of their trailers to prevent any electrical problems while on the road. This includes checking for frayed wires, loose connections, and corrosion, which can all contribute to faulty electrical systems. By following the wiring diagram and conducting routine checks, drivers can ensure the safety and efficiency of their trailer’s electrical components.

In conclusion, having a reliable semi-truck trailer wiring diagram is essential for safe and efficient towing operations. By understanding and following the diagram, truck drivers can ensure that all electrical connections are secure and functioning properly, reducing the risk of accidents and costly repairs. Regular maintenance and inspections of the trailer’s wiring system are also crucial for preserving the safety and reliability of the vehicle while on the road.


Download and Print Semi Truck Trailer Wiring Diagram Listed below

Semi Trailer Wiring Diagram Wiring DiagramSemi Trailer Wiring Diagram Wiring Diagram (www.autowiringdiagram.net)

Semi Truck Trailer Wiring DiagramSemi Truck Trailer Wiring Diagram (stewart-switch.com)

Semi Truck Trailer Wiring DiagramSemi Truck Trailer Wiring Diagram (stewart-switch.com)

Semi Truck Trailer Wiring DiagramSemi Truck Trailer Wiring Diagram (stewart-switch.com)

Semi Truck Trailer Wiring DiagramSemi Truck Trailer Wiring Diagram (www.tankbig.com)

Semi Truck Trailer Wiring Diagram

To sum up, comprehending and using Semi Truck Trailer Wiring Diagram is an vital skill for those dealing with electrical setups, from beginners to veteran technicians. These diagrams serve as blueprints that show the connections and functions of electrical circuits, making diagnosing problems, installation, and servicing far more manageable.

If you’re working on a basic home lighting system or a complicated industrial setup, a well-drawn Semi Truck Trailer Wiring Diagram can help avoid delays, prevent errors, and ensure safety.

If you’re new to Semi Truck Trailer Wiring Diagram, start small, examine real-life examples, and don’t hesitate to seek guidance. For experienced technicians, staying updated with the latest standards helps you stay competitive.

In the end, Semi Truck Trailer Wiring Diagram are more than just technical illustrations; they are the blueprint of electricity. By learning to read and design them, you empower yourself to work smarter, more safely, and more accurately in any electrical project.

We appreciate your time, and we hope this article Semi Truck Trailer Wiring Diagram has helped illuminate the power of wiring diagrams.